膠質層測定儀煤杯
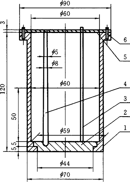
煤杯結構介紹:由45號鋼制成,外徑:70mm,杯底內經59mm,從距杯底50mm處至杯口的內經60mm,從杯底到杯口的高度110mm,總高度120mm,一套二個,前爐煤杯壓力盤高度147mm,后煤杯壓力盤高度229mm。
1- 杯體; 2- 杯底; 3- 細鋼棍; 4- 熱電偶鐵管; 5- 壓板; 6- 螺絲 煤杯及其他附件示意圖 煤杯使用部分的杯壁應當光滑,不應有條痕和缺凹,每使用 50 次后應檢查一次使用部分的直徑。檢查時,沿其高度每隔 10mm 測量一點,共測 6 點,測得結果的平均數與平均直徑 (59.5mm) 相差不得超過 0.5mm ,杯底與杯體之間的間隙也不應超過 0.5mm 。 杯底和壓力盤的規格及其上的析氣孔的布置方式如圖 。
煤杯安裝方法1.將杯底放入煤杯使其下部 凸出部分進入煤杯底部圓孔中,杯底上放置熱電偶鐵管的凹槽中心點與壓力盤上放熱電偶的孔洞中心點對準。 2.將直徑 59mm 的石棉圓墊墊鋪在杯底上,石棉墊上圓孔應對準杯底上的凹槽,在杯內下部沿壁圍一條濾紙條(寬約 60mm ,長 190 ~ 200mm )。 將熱電偶鐵管插入杯底凹槽,把帶有香煙紙管的鋼棍 放在下部石棉圓墊的探測孔標志處,用壓板把熱電偶鐵管和鋼棍固定,并使它們都保持垂直狀態。 3.將全部試樣倒在縮分板上,摻合均勻、攤成厚約 10mm 的方塊 。用直尺將方塊劃分為許多30mm × 30mm 左右的小塊,用長方形小鏟 ,按棋盤式取樣法隔塊分別取出兩份試樣,每份試樣質量為 (100±0.5)g 。 4.將每份試樣用堆錐四分法分為四部分,分四次裝入杯中。每裝 25g 之后,用金屬 針將煤樣攤平,但不得搗固。 5.試樣裝完后,將壓板暫時取下,把上部石棉圓墊小心地平鋪在煤樣上,并將露出的濾紙邊緣折復于石棉圓墊之上,放人壓力盤,再用壓板固定熱電偶鐵管。將煤杯放入上部磚垛的爐孔中,把壓力盤與杠桿連結起來,掛上砝碼,調節杠桿到水平。 6. 如煤樣在試驗中生成流動性很大的膠質體溢出壓力盤,則重新裝樣試驗。重新裝樣的過程中,須在折復濾紙后,用壓力盤壓平,再用直徑 2 ~ 3mm 的石棉繩在濾紙和石棉墊上方沿杯壁和熱電偶鐵管外壁圍一圈,再放上壓力盤,使石棉繩把壓力盤與煤杯、壓力盤與熱電偶鐵管之間的縫隙嚴密地堵起來。 7.在整個裝樣過程中香煙紙管應保持垂直狀態。當壓力盤與杠桿連結好后,在杠桿上掛上砝碼,把細鋼棍小心地由紙管中抽出來(可輕輕旋轉),務使紙管留在原有位置。如紙管被拔出,或煤粒進入了紙管(可用探針試出),須重新裝樣。 實驗結束后,用擦煤杯機或者手持裹著砂布的圓木棍(直徑約 56mm ,長 240mm )伸人煤杯中,并使之緊貼杯壁,將煤杯上的焦屑除去。
膠質層測定儀相關鏈接:JC—9型微機膠質層測定儀 下一篇:煤樣的制備方法 |
||||||||||||||||||||||||||
![]() |
![]() |
|||